商铺名称:郑州嘉单信息科技有限公司
联系人:失意(先生)
联系手机:
固定电话:
企业邮箱:82817496@qq.com
联系地址:河南省郑州市金水区花园路92号欧凯商务北楼3楼316
邮编:
联系我时,请说是在牵牛钢材网上看到的,谢谢!
电话营销机器人的效果非常好,优势如下:

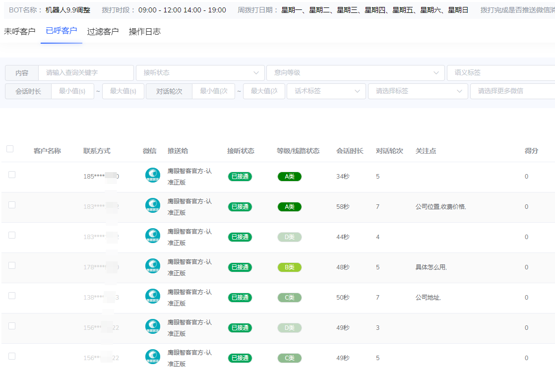
4、电话语音机器人会根据通话内容自动的分类成A、B、C类客户,自动标记未接通的电话,过一段时间会再呼叫一次。并且可以记录整个通话内容,通过文字和语音的模式记录在后台。

5、在对话的过程中,如果客户打断了对话,机器人将立即停止对话,并重新进行语音识别。然后继续与客户交流沟通,使客户感觉像是在与真人对话。
